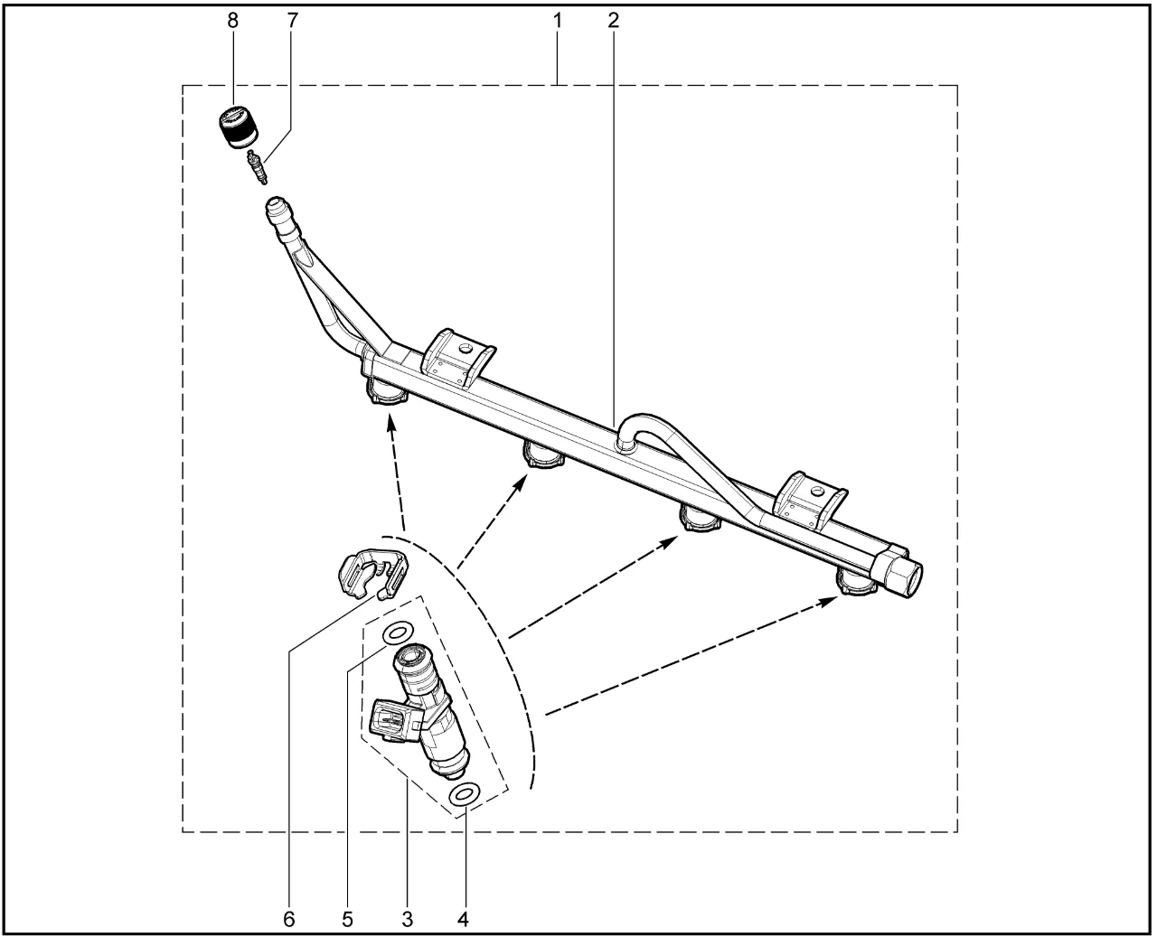
| № | Наименование детали | Артикул | Дополнительный артикул |
|---|---|---|---|
| 1 | Рампа форсунок в сборе | 8450120867 | |
| 2 | Корпус рампы | 8460017349 | |
| 3 | Форсунка в сборе с уплотнительными кольцами | 8460016495 | |
| 4 | Кольцо уплотнительное нижнее | 8460016496 | |
| 5 | Кольцо уплотнительное верхнее | 8460016497 | |
| 6 | Клипса крепления форсунки | 21127113203200 | 8450078369 |
| 7 | Золотник | 21127114409000 | 8450039755 |
| 8 | Колпачок | 21127114405600 | 8450039756 |
Поделиться с соц.сетях:
Обнаружили ошибку? Выделите ее и нажмите Ctrl+Enter..
Быстрая регистрация через соц.сети: