0 товаров – 0
Ваша корзина пуста

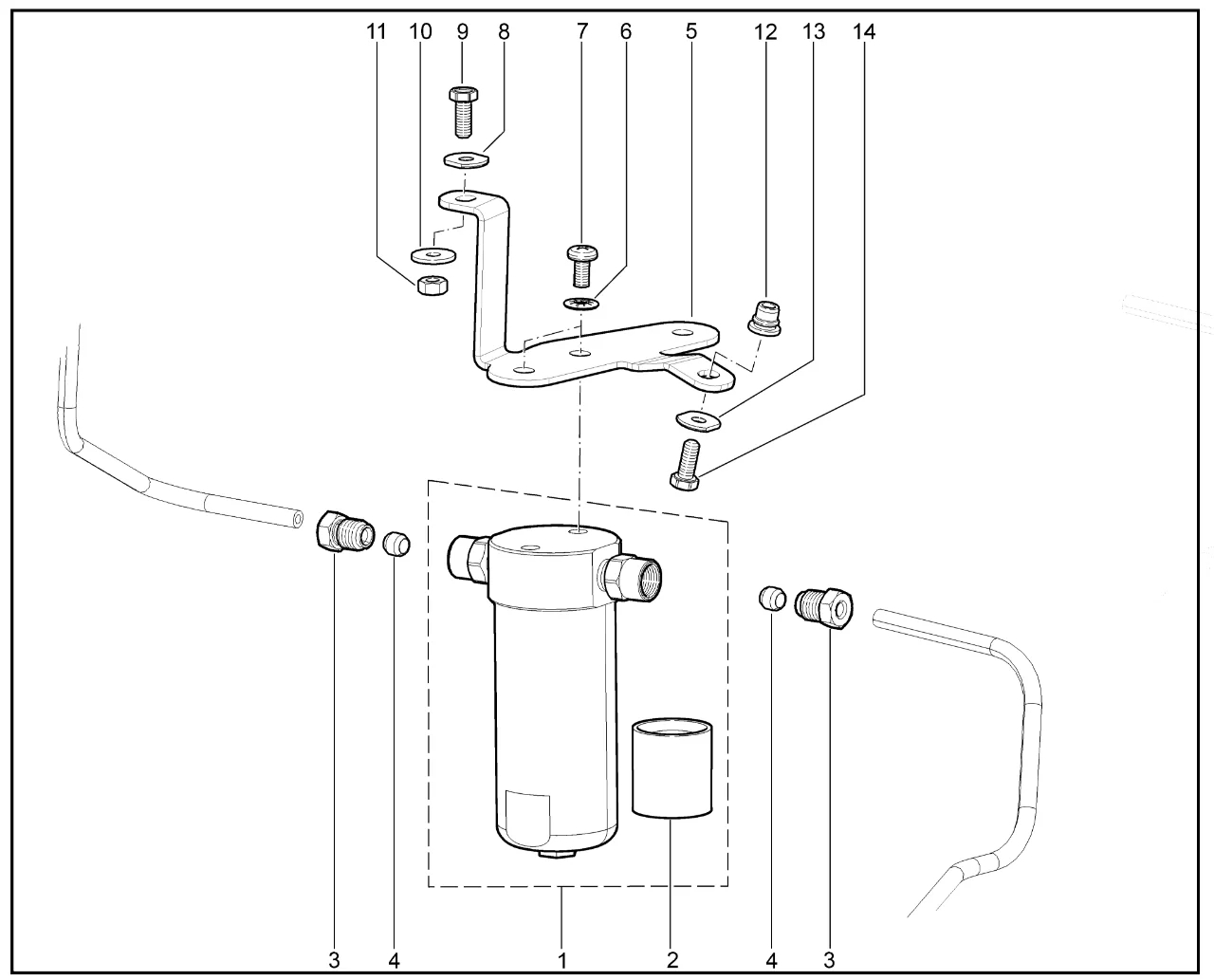
    Фильтр высокого давления (ГБО) Lada Vesta


    Наименование детали Артикул Дополнительный артикул
    1 Трубка высокого давления заправочного устройства и баллона 8450038113
    2 Трубка высокого давления баллона и фильтра 8450038141
    3 Штуцер 8450038115
    4 Ниппель 8450038116
    5 Штуцер длинный 8450038140
    6 Устройство заправочное в сборе 8450038112
    7 Клепка 4х8 8450038159
    8 Скоба крепления трубопроводов 8450038120
    Расшифровка сокращений каталога

    Поделиться с соц.сетях:

    Обнаружили ошибку? Выделите ее и нажмите Ctrl+Enter..

    Комментарии

    Быстрый вход:

    или

    Вопросы не относящиеся к статье/новости просьба задавать на форуме

Поиск статей и новостей:
Поиск деталей:

    Вы когда-нибудь думали о тюнинге своего авто?


    Голосовать
Этот сайт использует cookie для хранения данных. Продолжая использовать сайт, Вы даете свое согласие на работу с этими файлами.