
На СТО за замену резинометаллических шарниров (сайлентблоков) рычагов задней подвески Лада Веста просят около 5000 рублей, т.к. эта процедура не относится к ряду простых. Однако владельцы показали, как можно заменить эти сейлентблоки самому за 3-4 часа.
В инструкции завода (ТИ 3100.25100.20584) указывается, что для замены резинометаллических шарниров рычагов задней подвески потребуется снять рычаги задней подвески. Практика показывает, что этого делать не обязательно, достаточно:
Внимание. Перед снятием резинометаллического шарнира необходимо отметить его ориентацию в отверстии рычага задней подвески в соответствии с рисунком 13-10:

Рисунок 13-10 – Разметка расположения шарнира в рычаге задней подвески: М1 – метка на рычаге задней подвески; М2 – метка на корпусе шарнира
Примечание. Разметка шарниров необходима для правильной установки и предупреждения преждевременного износа шарниров рычагов задней подвески, а также для обеспечения надежной управляемости автомобиля.

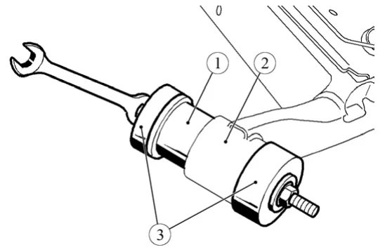
Рисунок 13-11 – Выпрессовка шарнира: 1 – шарнир рычага задней подвески; 2 – рычаг задней подвески; 3 – оправка 67.7823-9715-1
Выпрессовать резинометаллический шарнир 1, рисунок 13-11, из рычага 2 задней подвески (оправка с маркировкой "1" из комплекта 67.7823-9715, молоток).
При отсутствии данного инструмента владельцы извлекают сайлентблоки разными способами:
Установить новый резинометаллический шарнир 1, рисунок 13-12, в отверстие рычага 2 задней подвески и совместить метки "М1" и "М2", рисунок 13-10:

Рисунок 13-12 – Запрессовка шарнира: 1 – шарнир рычага задней подвески; 2 – рычаг задней подвески; 3 – оправка 67.7823-9715-2
Установить на шарнир оправку 3, рисунок 13-12, для запрессовки и запрессовать шарнир в рычаг задней подвески оправка с маркировкой "2" из комплекта 67.7823-9715, ключи кольцевые 17, 19).
При отсутствии данного инструмента владельцы изготавливают его своими руками. Например, из длинного куска прутка с резьбой, чашки от съемника ступичных подшипников, проставки под задние амортизаторы и пары гаек.
Выполнить сборку в обратной последовательности.
Где купить: в нашем интернет-магазине (категория Сайлентблоки задней подвески Весты).
Читайте также:
Фото: ТИ и БЖ Solodkovg
Ключевые слова: задняя подвеска лада веста
Быстрая регистрация через соц.сети: