
В качестве дополнительного оборудования на автомобили LADA может устанавливаться тягово-сцепное устройство (ТСУ или фаркоп). Тягово-сцепное устройство предназначено для шарнирной сцепки автомобиля с буксируемым прицепом. Конструкция автомобилей LADA предусматривает возможность установки ТСУ без дополнительных механических воздействий (сверление отверстий, сварочные работы) на кузов автомобиля. Далее представлена инструкция по установке и подключению штатного фаркопа на автомобили семейства Lada Granta и Lada Kalina.
К каждой модели автомобиля LADA предлагается к установке несколько вариантов ТСУ, отличающихся между собой конструкцией, но одинаковых по способу крепления к кузову автомобиля.
Крепление ТСУ, независимо от модели и конструкции самого устройства, производится к задним силовым элементам (лонжеронам) кузова автомобиля.
Моменты затяжки резьбовых соединений:
Артикулы штатного фаркопа в зависимости от типа кузова:
Где купить? В нашем интернет-магазине (ссылка на ТСУ)
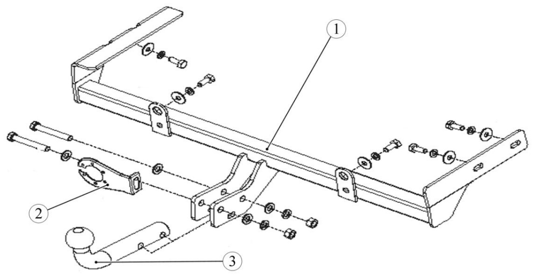
На рисунке 2-10 приведен основной вариант ТСУ, устанавливаемый на автомобиль LADA GRANTA.

Рисунок 2-10 – Конструкция и комплект поставки ТСУ LADA GRANTA (2190, 2191): 1– штанга в сборе с кронштейнами; 2 – подрозетник; 3 – крюк
С внутренней стороны поперечины 2, рисунок 2-11, пола задней, правого 1 и левого 3 задних лонжеронов очистить от слоя ПШМ закладные резьбовые отверстия 4 (отвертка плоская).
Примечание: Конструкция задней подвески основного глушителя автомобилей выпуска до 2018 года позволяет крепить к левому лонжерону кузова кронштейн штанги ТСУ в двух местах при наличии на кронштейне штанги дополнительного крепежного отверстия.
Рисунок 2-11 – Расположение штатных резьбовых отверстий для крепления ТСУ: 1– лонжерон пола задний правый; 2 – поперечина пола задняя; 3 – лонжерон пола задний левый
Установить на кузов штангу и закрепить, не затягивая, болтами из комплекта поставки.
Затянуть болты 2, рисунок 2-12, крепления штанги 3 к поперечине пола, затем болты 1 кронштейнов к лонжеронам кузова (ключ гаечный 17, головка сменная 17, вороток).
Рисунок 2-12 – Установка штанги ТСУ: 1 – болт крепления кронштейна штанги к лонжерону; 2 – болт крепления штанги к поперечина пола; 3 – штанга ТСУ
Установить на штангу крюк 3, см. рисунок 2-10, и подрозетник 2 (ключ гаечный 19, головка сменная 19, вороток).
Произвести монтаж и подключение электрооборудованиия ТСУ.
Установить задний бампер.
На рисунке 2-13 приведен основной вариант ТСУ, устанавливаемый на автомобиль LADA KALINA, LADA GRANTA.
Рисунок 2-13 – Конструкция и комплект поставки ТСУ LADA KALINA, GRANTA (1117, 1118, 2194): 1 – штанга в сборе с кронштейнами; 2 – подрозетник; 3 – крюк
Снять задний бампер в соответствии с требованиями раздела 1 ТИ 3100.25100.20475 для автомобиля 1117, раздела 2 ТИ 3100.25100.20469 для автомобиля 1118 и ТИ 3100.25100.20568 для автомобиля 2194.
Установку ТСУ на автомобиль LADA KALINA производить в соответствии с требованиями установки на автомобиль LADA GRANTA, указанными выше.
Примечание: Конструкция задней подвески основного глушителя автомобилей позволяет крепить к левому лонжерону кузова кронштейн штанги ТСУ в двух местах при наличии на кронштейне штанги дополнительного крепежного отверстия.
Произвести монтаж и подключение электрооборудованиия ТСУ.
Установить задний бампер.
На рисунке 2-14 приведен основной вариант ТСУ, устанавливаемый на автомобиль LADA KALINA (хэтчбэк).
Рисунок 2-14 – Конструкция и комплект поставки ТСУ LADA KALINA, GRANTA (1119, 2192): 1 – кронштейн ТСУ левый; 2 – штанга; 3 – кронштейн ТСУ правый; 4 – подрозетник; 5 – крюк
Снять задний бампер в соответствии с требованиями раздела 1 ТИ 3100.25100.20470 для автомобиля 1119 и раздела 2 ТИ 3100.25100.20568 для автомобиля 2192.
С внутренней стороны поперечины 2, см. рисунок 2-11, пола задней, правого 1 и левого 3 задних лонжеронов очистить от слоя ПШМ закладные резьбовые отверстия 4, по два на каждом кузовном элементе, в том числе и на левом лонжероне (отвертка плоская).
Установить на левый лонжерон кронштейн 1, см. рисунок 2-14, на правый лонжерон кронштейн 3 и закрепить кронштейны, болтами из комплекта поставки, не затягивая.
Установить на поперечину пола заднюю штангу 2 и закрепить, болтами из комплекта поставки, не затягивая.
Соединить кронштейны со штангой, болтами из комплекта поставки, не затягивая.
Затянуть болты крепления штанги к поперечине пола задней, затем кронштейнов к лонжеронам кузова и к штанге (головка сменная 17, 19, вороток).
Установить на штангу крюк 5 и подрозетник 4 (ключ гаечный 19, головка сменная 19, вороток).
Произвести монтаж и подключение электрооборудованиия ТСУ.
Установить задний бампер.
Потребуется комплект электропроводки для подключения розетки тягово-сцепного устройства (артикул 99999000017182).
Провода из багажника прокладываем к розетке фаркопа через штатное отверстие (также как в случае с подключением парктроника), которое находится под бампером с левой стороны по ходу движения автомобиля.
Схема подключения фаркопа следующая:

Напомним, сборники ТИ можете скачать на нашем сайте (для Lada Granta, для Lada Kalina 2, для Lada Kalina 1).
Ключевые слова: багажник лада гранта | багажник лада калина
Быстрая регистрация через соц.сети: