
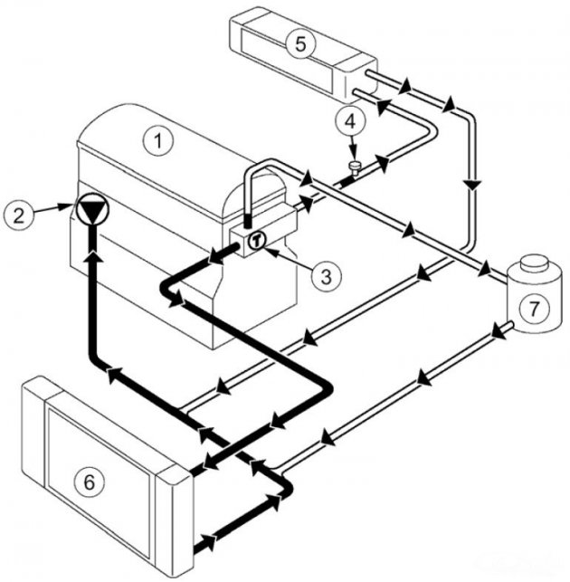
Всем доброго времени суток, вопрос в следующем. как подключить в систему охлаждения двигателя Лады Весты котел подогревателя ОЖ (без помпы) Альянс 99 220в.
В инструкции указано, подключение делается через сливное отверстия ОЖ с блока, а в Весте нет такой возможности, как быть? в какие патрубки врезаться, чтобы циркуляция была по малому кругу и была эффективна? Спецы выручайте скоро зима.
Быстрая регистрация через соц.сети: