| № | Наименование детали | Артикул | Дополнительный артикул |
|---|---|---|---|
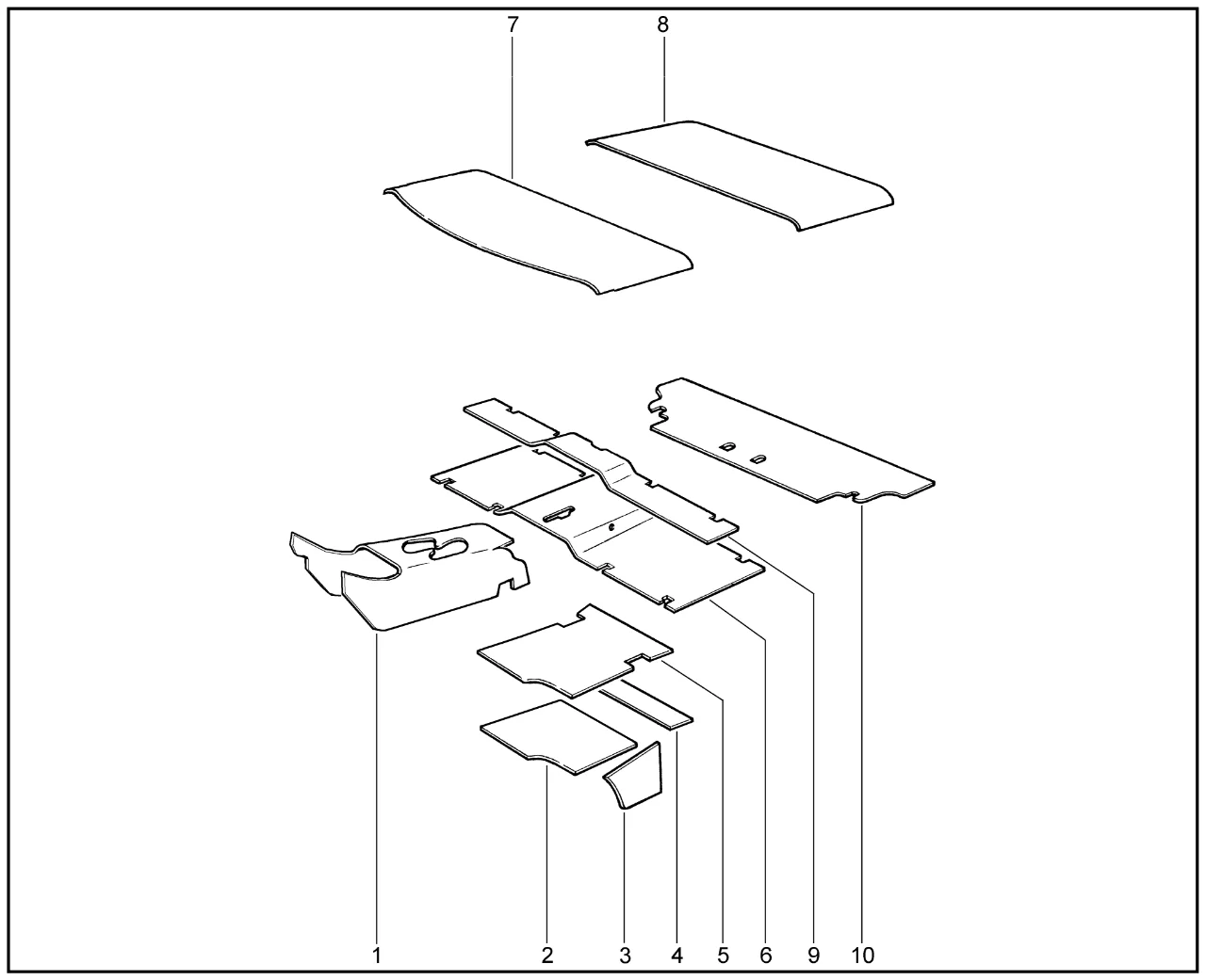
| 1 | Обивка шумоизоляционная кожуха пола | 21210500204310 | 8450057356 |
| 2 | Обивка шумоизоляционная переднего пола левая | 21310500203700 | 8450109313 |
| 2 | Обивка шумоизоляционная переднего пола правая | 21310500203600 | 8450109315 |
| 3 | Обивка боковины нижняя | 21210500213400 | 8450057365 |
| 4 | Прокладка изоляционная арки заднего колеса задняя правая | 21214500766400 | 8450074667 |
| 4 | Прокладка изоляционная пола задняя правая | 8450082936 | |
| 5 | Обивка шумоизоляционная переднего пола | 21210500203800 | 8450057354 |
| 5 | Обивка шумоизоляционная переднего пола | 21210500203900 | 8450057355 |
| 5 | Обивка шумоизоляционная переднего пола | 8450083592 | |
| 5 | Обивка шумоизоляционная переднего пола дополнительная правая | 21310500203800 | 8450109316 |
| 5 | Обивка шумоизоляционная переднего пола дополнительная левая | 21310500203900 | 8450109317 |
| 6 | Обивка шумоизоляционная заднего пола | 21310500205400 | 8450109314 |
| 7 | Прокладка изоляционная | 21213500202201 | 8450057704 |
| 8 | Прокладка изоляционная | 21213500202501 | 8450057705 |
| 8 | Прокладка изоляционная | 21310500202601 | 8450058980 |
| 9 | Обивка шумоизоляционная заднего пола | 21213500205400 | 8450057706 |
| 9 | Обивка шумоизоляционная заднего пола | 8450083510 | |
| 9 | Обивка шумоизоляционная заднего пола | 8450083723 | |
| 10 | Обивка пола багажника | 21210500206200 | 8450057359 |
| 10 | Обивка пола багажника | 21214500206200 | 8450058229 |
Поделиться с соц.сетях:
Обнаружили ошибку? Выделите ее и нажмите Ctrl+Enter..
Быстрая регистрация через соц.сети: