
В качестве дополнительного оборудования на автомобили LADA может устанавливаться тягово-сцепное устройство (ТСУ или фаркоп). Тягово-сцепное устройство предназначено для шарнирной сцепки автомобиля с буксируемым прицепом. Конструкция автомобилей LADA предусматривает возможность установки ТСУ без дополнительных механических воздействий (сверление отверстий, сварочные работы) на кузов автомобиля. Далее представлена инструкция по установке и подключению штатного фаркопа на автомобили семейства Lada Priora.
К каждой модели автомобиля LADA предлагается к установке несколько вариантов ТСУ, отличающихся между собой конструкцией, но одинаковых по способу крепления к кузову автомобиля.
Крепление ТСУ, независимо от модели и конструкции самого устройства, производится к задним силовым элементам (лонжеронам) кузова автомобиля.
Моменты затяжки резьбовых соединений:
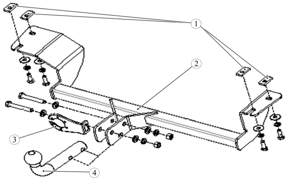
На рисунке 2-20 приведен основной вариант ТСУ, устанавливаемый на автомобиль LADA PRIORA
Рисунок 2-20 – Конструкция и комплект поставки ТСУ LADA PRIORA: 1 – планка закладная; 2 – штанга в сборе с кронштейнами; 3 – подрозетник; 4 – крюк
В правом 2, рисунок 2-21, и левом 1 заднем лонжероне рассверлить технологическое отверстие 4 до диаметра 23-25 мм (дрель, сверло).
Через доработанное отверстие внутрь лонжерона завести закладную планку из комплекта поставки.
Совместить резьбовое отверстие планки с задним отверстием 3 в лонжероне, завернуть в планку на 2-3 оборота болт из комплекта поставки.
На вкрученные болты установить штангу ТСУ задними открытыми пазами.
Рисунок 2-21 – Подготовка к установке ТСУ: 1 – лонжерон задний левый; 2 – лонжерон задний правый; 3 – отверстие крепления штанги ТСУ; 4 – технологическое отверстие
Совместить резьбовое отверстие планки с отверстием в лонжероне и кронштейне штанги, завернуть в планку болт из комплекта поставки (головка сменная 17, вороток).
Затянуть болты крепления штанги (головка сменная 17, вороток).
Установить на штангу крюк 4, см. рисунок 2-20, и подрозетник 3 (ключ гаечный 19, головка сменная 19, вороток).
Произвести монтаж и подключение электрооборудованиия ТСУ.
Обработать антикоррозионным составом доработанные отверстия.

Схема подключения розетки:
Кстати, а вы знаете, как можно установить ручку на пол багажника седана, чтобы сделать эксплуатацию автомобиля более комфортной?
Ключевые слова: багажник лада приора
Быстрая регистрация через соц.сети: