
В ходе регулярного мониторинга базы системы электронных паспортов сайту Лада.Онлайн удалось обнаружить Одобрение Типа Транспортного Средства (ОТТС) на обновленную Весту, которая должна появится в продаже к середине 2022 года. В документе указываются технические характеристики новой модели АВТОВАЗа.
| Vesta | Vesta Cross | Vesta FL | Vesta Cross FL | |
|---|---|---|---|---|
| седан | ||||
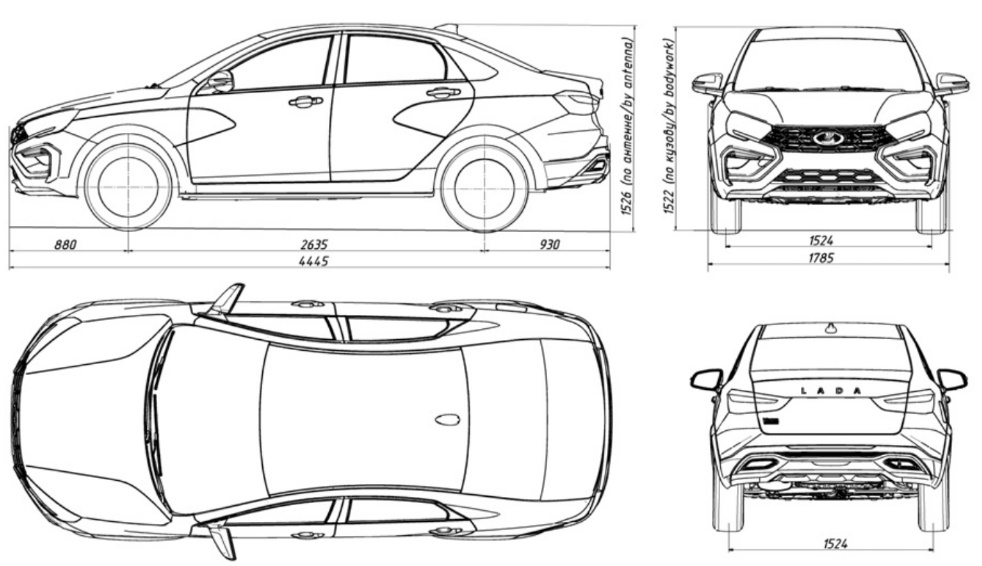
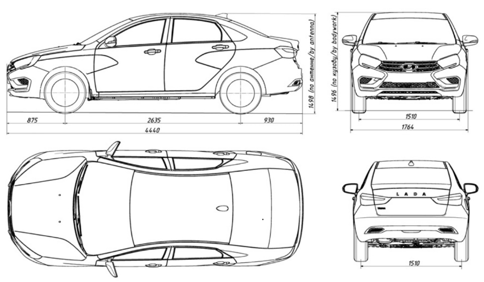
| длина | 4410 | 4424 | 4440 | 4445 |
| ширина | 1764 | 1785 | 1764 | 1785 |
| высота | 1497 | 1526 | 1496…1498 | 1522…1526 |
| База, мм | 2635 | |||
| Колея передних/задних колес, мм |
1510 / 1510 | 1524 / 1524 | 1510 / 1510 | 1524 / 1524 |
| универсал | ||||
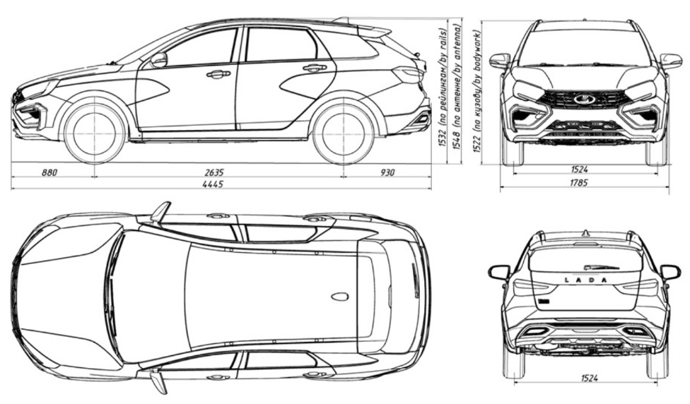
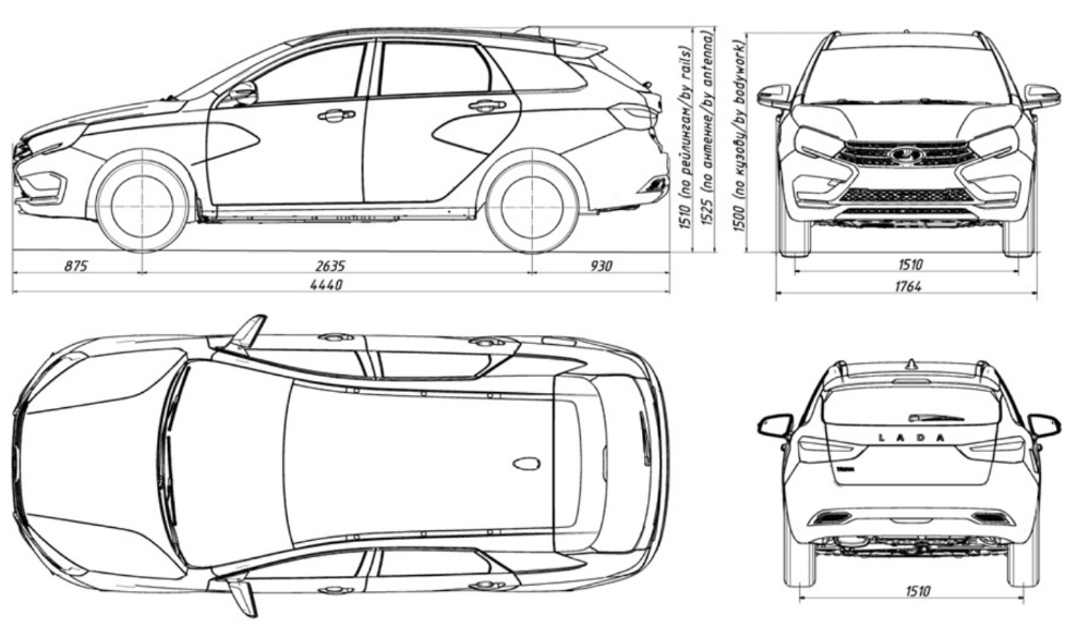
| длина | 4410 | 4424 | 4440 | 4445 |
| ширина | 1764 | 1785 | 1764 | 1785 |
| высота | 1497…1520 | 1526…1537 | 1500…1525 | 1522…1548 |
| База, мм | 2635 | |||
| Колея передних/задних колес, мм |
1510 / 1510 | 1524 / 1524 | 1510 / 1510 | 1524 / 1524 |
Обновленная Веста будет чуть длинней и выше.
Lada Vesta седан FL
Lada Vesta седан Cross FL
Lada Vesta SW FL
Lada Vesta SW Cross FL
В техническом плане ничего не измениться:
Основные изменения коснулись экстерьера и интерьера автомобиля. Обновленная Веста получит новый обвес, передние фары и задние фонари. В салоне будет новая панель приборов (торпедо), обивки дверей и рулевое колесо. Также новинка получит ряд новых опций, которые ранее не использовались на других моделях LADA (бесключевой доступ, ЖК комбинацию приборов, передний парктроник, мультимедийную систему с вертикальным экраном 10 дюймов, систему контроля слепых зон в зеркалах)
Скачать ОТТС Lada Vesta NG:
Читайте также:
Ключевые слова: рестайлинг лада веста
Быстрая регистрация через соц.сети: